正航儀器詳細介紹色漆和漆耐中性鹽霧性能的測定
色漆和漆耐中性鹽霧性能的測定1主題內容與適用范圍
本標準規定了測定涂層耐中性鹽霧性能的方法。
本標準所規定的方法可以作為色擦或涂料體系質量的檢測手段。
2 引用標準
GB 1266 氧化納
GB 1764 漆膜厚度測定法
GB 1765 測定耐溫熱、耐鹽霧、耐候性(人工加速)的潦膜制備法
GB 3186 涂料產品的取樣
GB 6682 實驗室用水規格
GB 9271 色漆和清漆標準試板
GB 9278 涂料試樣的狀態調節和試驗的溫濕度
GB 9286 色棒和清擦漆膜劃格試驗
3 試驗溶液
3. 1 試驗榕液是將符合GB 1266 化學純的氯化鈾溶解于符合GB 6682 三級水中配制,其濃度為50:!:
10 g/L ll 。
3. 2 用pH 計(精度0.1 pH) 在25 0C 時測定試驗溶液(3. 1)的pH 值應為6. 5~7. 2 。超出范圍時,可加入分析純鹽酸或氫氧化納溶液進行調整。經過pH 計測定校正的精密試紙可用于日常檢驗。
3.3 試驗溶液注入設備的貯罐前應予過濾,以防止固體物質堵塞噴嘴。
4設備
設備為鹽霧試驗箱,應包括如下部件。
4.1 噴霧室:由耐鹽水榕液腐蝕的材料制成或襯里,頂蓋或蓋子應向上傾斜,與水平面的夾角應大于
25 0 ,使凝集在蓋子上的液滴不致滴落在試板上。
4. 1. 1 噴霧室的大小和形狀應保證在箱內所收集到溶液的量達到8.2 規定的范圍內。
為保證噴霧的均勻性,噴霧室的容積不得小于0.4 m 3 0 對于容積超過2 曠的噴霧室,為便于操作在設計和構造上應給予仔細的考慮,應考慮的因素列于附錄A 中。
4.1.2 恒溫控制元件z 設在噴霧室內,離箱壁至少100 mm 的地方,或設在室內的水夾套內,并能使噴霧室內各部位達到規定的溫度。
溫度計設在室內離箱壁大于100 mm 的地方,并能在箱外讀數。
4.1.3 噴嘴:由耐鹽水腐蝕的惰性材料制造,如玻璃或塑料。采用可調節的檔板防止鹽霧直接沖擊試
板,以有助于室內噴霧分布均勻。
4. 1. 4 鹽霧收集器:由玻璃或其他化學惰性材料制成飛收集器至少有兩個ZU 置于噴霧室內放置試板的地方。一個置于靠近噴霧的入口,一個置于遠離噴霧入口處,其位置要求收集到的只是鹽霧,而不是從試樣或室內其他部件滴下的液體。
注:1)玻璃漏斗的管子能插到帶刻度的量筒中。漏斗的直徑為100 mm ,其收集面積為80 cm 2 。
2) 如果使用兩個或兩個以上的噴嘴,則收集器的數量至少是噴嘴數量的兩倍。
4.1.5 試驗溶液貯槽:由耐鹽水溶液腐蝕的材料制成,并設有保持槽內恒定水位高度的裝置。
4.2 潔凈空氣供給器:供給噴霧的壓縮空氣應通過濾清器,除去油分和固體微粒。空氣在進入噴嘴之前應通過裝有符合GB 6682 水的,其溫度比噴霧室內高幾度的飽和罐,使空氣增濕,防止試驗溶液的氣化。水的溫度取決于所用的空氣壓力和噴嘴的類型,調節空氣壓力使箱內收集速度和收集濃度保持在規
定的范圍內。(見8.2)
噴霧壓力保持在70~170 kPa 。
注:為防止噴霧室內形成壓力,通常是把裝置的空氣排放到實驗室外大氣中。
4. 3 試驗溶液貯罐:由耐鹽水溶液的材料制成。
5 試樣
按GB 3186 規定,抽取試樣。
6 試驗樣板
6. 1 材料和尺寸
除另有規定或有關方面協定,試板應使用GB 9271 要求的磨光銅板,其尺寸為100 mmX150 mm ,
如不需劃痕,也可使用70 mmX150 mm 的試板II 。
6.2 制板和涂復
除另有規定,應按GB 1765 的規定制備試板。并按GB 1764 非破壞性的方法測定干膜厚度。
試板的背面和周邊用被試產品或涂層體系涂覆。如果不采用被試產品來涂覆時,則需用比被試產品
更耐腐蝕的產品來涂覆。
6.3 干燥和狀態調節
涂覆試板按標準規定的時間和條件干燥。除另有規定,應在溫度23 士2"C 和相對濕度(50 土5)% 、具
有空氣循環、不受陽光直接曝曬的條件下,狀態調節至少16 h 以上,然后盡快投入試驗。
6.4 劃痕的制備
如需劃痕,劃痕應劃透涂層至底材。并使劃痕離試板的任一邊緣大于20 mm 。除另有規定,應使用
GB 9286 推薦的單刃切割器。
7 試板的曝露方法
7.1 不應將試板放置在霧粒從噴嘴出來的直線軌跡上,可使用擋板防止噴霧直接沖擊試板。
采用說明2
1] ISO 規定為150 mmX 100 mm 。
7.2 試板在箱內的曝露角度是很重要的,每塊試板的被試表面朝上,與垂線的夾角是20。土50 。
注z 當有不同形狀的涂漆部件試驗時,曝露方法由有關方面商定。如進行這種試驗時,特別重要的是應將這些不同
形狀的部件按其使用的正常狀態來放置。在此要求下,部件放置應盡可能避免妨礙氣流的流動。如果部件妨礙
了氣流的流動,其它試板和部件則不能同時進行試驗。
應當指出,試板涂層的破壞程度隨放置的方位不同而不同,對此應給予適當的考慮。
7.3 試板的排列應不使其互相接觸或與箱體接觸。被試表面應曝露在鹽霧無阻礙地沉降的地方。試板
放在箱內的同一水平面上,以避免液滴從上層的試板或支架上落到下面的其他試板上。
注s 是定期變換試板的位置。假如在檢查周期時變換位置,則需在試驗報告中說明換位方式。
7.4 試板的支架必須由玻璃、塑料或涂漆木材之類的惰性非金屬材料制成。如果試板需要懸掛,則掛具
應用合成纖維、棉線或其他惰性絕緣材料制成。
8 操作條件
8.1 噴霧室內的溫度應為35 土2"C 。
8.2 每一收集器(4. 1. 4) 中收集的溶液其氯化俐的濃度為50 士10 g/L(3. 1) , pH 值為6. 5~7. 2(3. 2) 。
在至少經24 h 周期后,開始計算每個收集器收集的溶液,每80 cm2 的面積,應為1~2 mL/h 。
8.3 己噴霧過的試驗溶液不能再用。
8.4 如果本設備已經作過不同于本試驗規定的試驗,則在試驗前必須充分清洗干凈。
9 試驗步驟
9.1 按第8 章規定的條件,進行調試。
9.2 按第7 章規定,將試板(或部件)排放在噴霧室內。
9.3 關閉嘖霧室頂蓋,開啟試驗溶液貯罐閥,使溶液流到貯槽,進行試驗。在整個試驗周期內,連續進行噴霧。
9.4 除了檢查、重排或取出試板;檢查及補充貯槽中的溶液;或按第8 章規定作必要的記錄,方可停止噴霧。
9. 5 除另有規定,應進行兩次平行測定。
10 試板的檢查
試板應周期地進行目測檢查,但不允許破壞試板表面。在任一個24 h 為周期的檢查時間不應超過
60 min ,并且盡可能在每天的同一時間進行檢查。試板不允許呈干燥狀態。
在規定的試驗周期結束時,從箱中取出試板,用清潔的水沖洗試板以除去表面上殘留的試驗溶液,
立即檢查試板表面的破壞現象,如起泡、生銹、附著力的降低、由劃痕處腐蝕的蔓延等。
如有要求,將試板放置在符合GB 9278 規定的標準環境中狀態調節到規定時間,再檢查試板表面
的破壞現象。
如果需要檢查底材的破壞情況,則應按商定的方法除去涂層。
11 試驗報告
試驗報告至少包括下列內容z
a. 被試產品的型號和名稱;
b. 注明采用本國家標準;
c. 試驗持續時間;
d. 試板換位方式(7.3 注h
e. 試驗結果;
容積大于2 m3 噴霧室的設計和結構應考慮的因素
(補充件)
A1 噴嘴和檔板的數量及位置應能保證噴霧均勻,收集量應符合8.2 規定的范圍。
A2 收集器的數目應符合4. 1. 4 的要求,并能監控噴霧狀況。
A3 加熱、隔熱及其他溫度控制方式,均應使噴霧室內所有試板在各位置上的溫度分布均勻。
A4 如噴霧室的尺寸不允許按4. 1 要求,使頂蓋與水平面夾角大于25。角時,頂蓋的設計(如輔助頂蓋〉

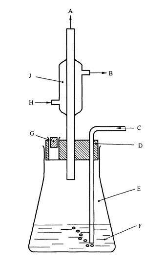
A——氣體出口:
B一一出水;
C一一二氧化碳入口;
D一一三孔橡皮塞;
E一-500 mL 廣口錐型瓶;
F一一錫溶液;
G一一橡皮塞和玻璃管;
H一一進水;
J ——冷凝器:
圄2 錫還原裝置
3.5. 1 等厚撞層鍍錫量(注2.5 g/ m2 ) 的測定